中国地板网 - 地板行业门户网站 !

商业资讯: 行业新闻 | 品牌动态 | 企业信息 | 地板选购 | 地板保养 | 家居家装 | 地板常识 | 国际资讯 | 政策法规 | 地板卖场

你现在的位置: 首页 > 商业资讯 > 地板保养 > 圣象地板(句容):陈建军退出总经理职务,祝鹏深接任
Z.biz | 商业搜索

圣象地板(句容):陈建军退出总经理职务,祝鹏深接任

信息来源:floorb2b.com   时间: 2023-01-25  浏览次数:63








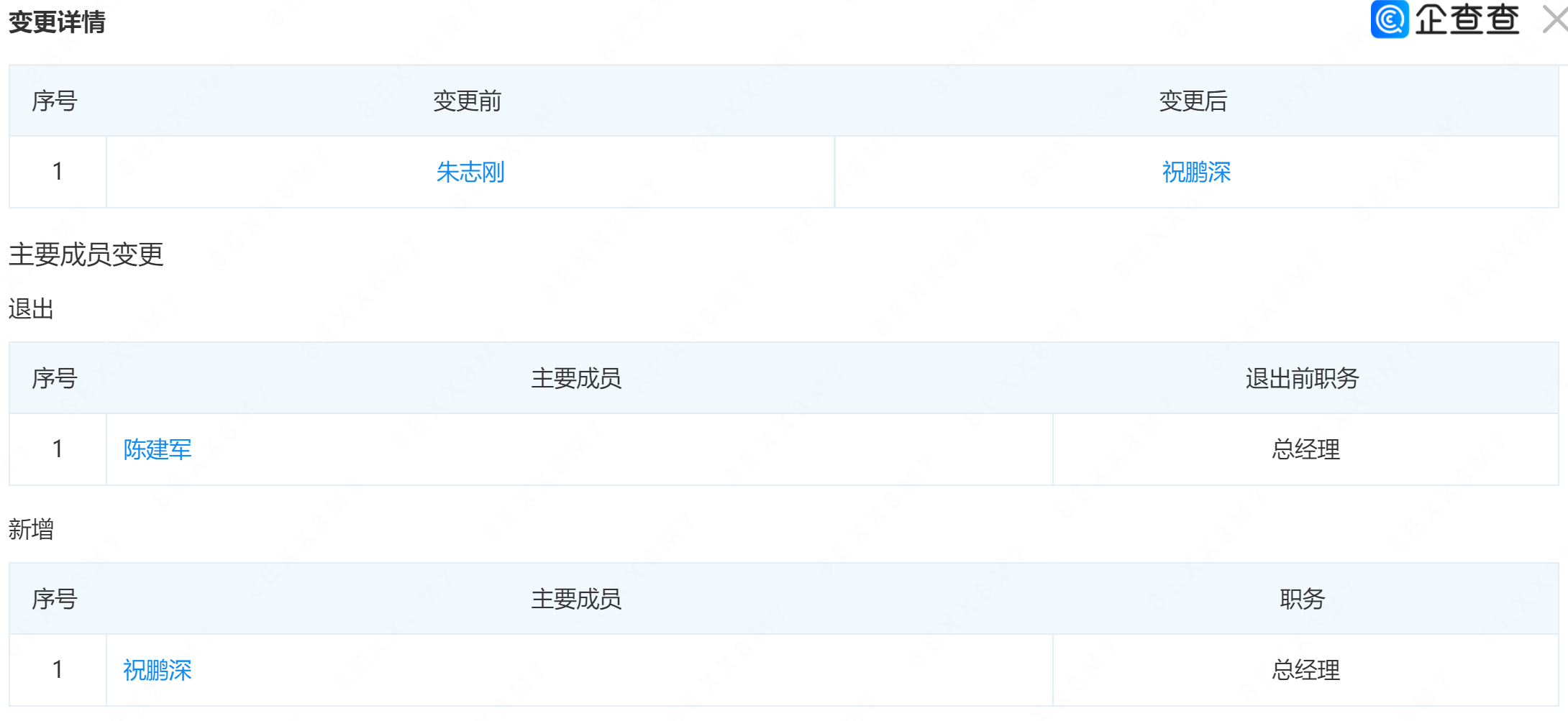
乐居财经 邓如菲?1月16日消息,圣象地板(句容)有限公司法定代表人从“朱志刚”变更为“祝鹏深”,陈建军退出总经理职务,祝鹏深接任。

??圣象地板(句容)有限公司成立于2014年12月25日,法定代表人为祝鹏深,注册资本为4000万元,经营范围包括木制品、木制地板的加工、生产;普通货物道路运输。该公司由圣象集团有限公司持股100%。


    ——本信息真实性未经中国地板网证实,仅供您参考